该项目含有源码、文档、程序、数据库、配套开发软件、软件安装教程。欢迎交流
项目运行
环境配置:
Node.js+ Vscode + Mysql5.7 + HBuilderX+Navicat11+Vue+Express。
项目技术:
Express框架 + Node.js+ Vue 等等组成,B/S模式 +Vscode管理+前后端分离等等。
环境需要
1.运行环境:最好是Nodejs最新版,我们在这个版本上开发的。其他版本理论上也可以。
2.开发环境:Vscode或HbuilderX都可以。推荐HbuilderX;
3.mysql环境:建议是用5.7版本均可
4.硬件环境:windows 7/8/10 1G内存以上;或者 Mac OS;
6.Navcat11:这个版本不限10/11/14/15都可以。;
Node.js毕设帮助,指导,本源码(见文末),调试部署
3.1系统的结构划分
用户使用功能:首页、个人中心、竞赛报名管理、报名审核管理、成绩管理等。
管理员管理功能:首页、个人中心、用户管理、竞赛类型管理、竞赛主题管理、竞赛方式管理、竞赛信息管理、竞赛报名管理、报名审核管理、成绩管理、裁判管理、比赛参赛信息管理、近期获奖信息管理、竞赛讨论、系统管理等。
竞赛报名管理系统的结构图3-1所示:

图3-1 系统结构
登录系统结构图,如图3-2所示:

图3-2登录结构图
这些功能可以充分满足竞赛报名管理系统的需求。此系统功能较为全面如下图系统功能结构如图3-3所示。

图3-3系统功能结构图
3.2系统的流程分析
3.2.1操作流程
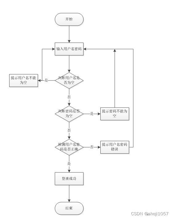
系统登录流程图,如图所示:

图3-4登录流程图
3.2.2添加信息流程
添加信息流程图,如图所示:
图3-5添加信息流程图
3.2.3删除信息流程
删除信息流程图,如图所示:

图3-6删除信息流程图
3.3.数据库设计
3.3.1数据库实体
管理员信息结构图,如图3-7所示:

图3-7 管理员信息实体结构图
竞赛信息管理实体属性图,如图3-8所示:

图3-8竞赛信息管理实体属性图
竞赛报名管理实体属性图如图3-9所示。

图3-9竞赛报名管理实体属性图
4.2系统实现
4.2.1系统功能模块
竞赛报名管理系统,在系统首页可以查看首页、竞赛信息、比赛参赛信息、近期获奖信息、竞赛讨论、新闻信息、个人中心、后台管理、在线客服等内容进行详细操作,如图4-1所示。

图4-1系统首页界面图
竞赛信息;在竞赛信息页面中可以查看竞赛名称、竞赛类型、图片、竞赛主题、竞赛方式、竞赛规则、竞赛时间、竞赛地点、费用、竞赛介绍等内容,进行报名、评论或收藏等操作;如图4-2所示。

图4-2竞赛信息界面图
用户注册;在用户注册页面中输入账号、密码、昵称、手机、邮箱、经度、纬度、地址等内容,进行注册操作,如图4-3所示。在个人中心页面中输入账号、密码、昵称、性别、手机、邮箱、图片、经度、纬度、地址等内容,进行更新信息,并可以根据需要对我的发布,我的收藏等进行相应的操作,如图4-4所示。

图4-3用户注册界面图

图4-4个人中心界面图
4.2.2管理员功能模块
管理员登录,通过填写注册时输入的用户名、密码、选择角色等信息进行登录,如图4-5所示。

图4-5管理员登录界面图
管理员登录进入竞赛报名管理系统可以查看首页、个人中心、用户管理、竞赛类型管理、竞赛主题管理、竞赛方式管理、竞赛信息管理、竞赛报名管理、报名审核管理、成绩管理、裁判管理、比赛参赛信息管理、近期获奖信息管理、竞赛讨论、系统管理等信息进行详细操作,如图4-6所示。

图4-6管理员功能界面图
用户管理,在用户管理页面中可以查看索引、账号、昵称、性别、手机、邮箱、头像、地址等内容,进行详情、修改或删除等操作;如图4-7所示。

图4-7用户管理界面图
竞赛信息管理:在竞赛信息管理页面中可以查看索引、竞赛名称、竞赛类型、竞赛主题、竞赛方式、竞赛图片、竞赛时间、竞赛地点、费用等内容,进行详情、修改、查看评论或删除等操作;如图4-8所示。

图4-8竞赛信息管理界面图
竞赛报名管理;在竞赛报名管理页面中可以查看索引、姓名、身份证、学校名称、账号、竞赛名称、竞赛类型、竞赛地点、费用、报名时间、是否支付等内容,进行详情、审核、修改或删除等操作;如图4-9所示。

图4-9竞赛报名管理界面图
报名审核管理:在报名审核管理页面中可以查看索引、竞赛名称、竞赛类型、账号、姓名、身份证、学校名称、状态、备注、准考证号、竞赛地点、考场号等内容,进行导入成绩、修改或删除等操作,如图4-10所示。

图4-10报名审核管理界面图
成绩管理;在成绩管理页面中可以查看索引、账号、姓名、竞赛名称、学校名称、成绩、准考证号等内容,进行修改或删除等操作;如图4-11所示。

图4-11成绩管理界面图
裁判管理,在裁判管理页面中可以查看索引、姓名、性别、身份证、手机等信息,并可根据需要进行详情、修改或删除等操作,如图4-12所示。

图4-12裁判管理界面图


![[封装自己的ui组件库] upload的实现与难点](https://img-blog.csdnimg.cn/3eeb2c5bec44424da347971f2cb7ffbf.png#pic_center)















